Coliter ® Electric Hydraulic Control Valve – PN16, ≤80°C, Solenoid-Operated Remote On/Off for Water Supply Systems
600X Electric Hydraulic Control Valve – Pilot-Operated Hydraulic Valve with Electromagnetic Remote Control for High-Rise & Municipal Water Networks
The Coliter® 600X Electric Hydraulic Control Valve is a pilot-operated, remotely controlled valve designed for reliable on/off control in large-scale water supply systems such as high-rise buildings, residential complexes, and urban water distribution networks. It combines hydraulic efficiency with electrical convenience: while the main valve is actuated by system pressure (requiring no external power), remote opening and closing are achieved via a low-power solenoid pilot valve, significantly reducing energy consumption compared to conventional electric actuators. The valve assembly includes a main valve, electromagnetic pilot valve, needle valve, ball valve, micro filter, and pressure gauges. During operation, inlet water flows through the needle valve into the main valve’s control chamber. When the solenoid pilot opens, water drains from the chamber faster than it enters—dropping pressure and causing the main valve to open fully. When the solenoid closes, the chamber pressurizes, pushing the diaphragm to shut the main valve. Optional accessories allow adjustment of opening/closing speed to prevent water hammer. Constructed from ductile iron or cast steel, rated at PN16 (1.6 MPa), and suitable for media temperatures up to 80°C, it handles clean water only. Available in sizes from DN20 to DN800 with flanged ends per GB/T 17241.6. By leveraging system hydraulics for actuation and electricity only for signaling, the 600X delivers energy-efficient, fail-safe, and scalable remote control—ideal for smart water infrastructure.
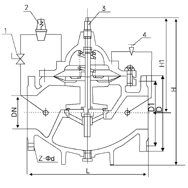
Installation diagram
Product Description
| DN | L | H | H1 | D | D1 | Z-Ød | ||||||
| 1.0MPa | 1.6MPa | 2.5MPa | 1.0MPa | 1.6MPa | 2.5MPa | 1.0MPa | 1.6MPa | 2.5MPa | ||||
| 20 | 150 | 342 | 269 | - | - | - | - | - | - | - | - | - |
| 25 | 160 | 342 | 269 | - | - | - | - | - | - | - | - | - |
| 32 | 180 | 342 | 269 | 140 | 140 | 140 | 100 | 100 | 100 | 4-18 | 4-18 | 4-18 |
| 40 | 200 | 395 | 300 | 150 | 150 | 150 | 110 | 110 | 110 | 4-18 | 4-18 | 4-18 |
| 50 | 203/230 | 395 | 300 | 165 | 165 | 165 | 125 | 125 | 125 | 4-18 | 4-18 | 4-18 |
| 65 | 216/290 | 385 | 288 | 185 | 185 | 185 | 145 | 145 | 145 | 4-18 | 4-18 | 8-18 |
| 80 | 241/310 | 420 | 310 | 200 | 200 | 200 | 160 | 160 | 160 | 8-18 | 8-18 | 8-18 |
| 100 | 292/350 | 500 | 340 | 220 | 220 | 235 | 180 | 180 | 190 | 8-18 | 8-18 | 8-23 |
| 125 | 330/400 | 540 | 380 | 250 | 250 | 270 | 210 | 210 | 220 | 8-18 | 8-18 | 8-25 |
| 150 | 356/480 | 575 | 410 | 285 | 285 | 300 | 240 | 240 | 250 | 8-18 | 8-18 | 8-25 |
| 200 | 495/600 | 665 | 440 | 340 | 340 | 360 | 295 | 295 | 310 | 8-23 | 12-23 | 12-25 |
| 250 | 622/730 | 720 | 460 | 395 | 405 | 425 | 350 | 355 | 370 | 12-23 | 12-25 | 12-30 |
| 300 | 698/850 | 750 | 480 | 445 | 460 | 485 | 400 | 410 | 430 | 12-23 | 12-25 | 16-30 |
| 350 | 787/980 | 830 | 516 | 505 | 520 | 550 | 460 | 470 | 490 | 16-23 | 16-25 | 16-34 |
| 400 | 914/1100 | 900 | 560 | 565 | 580 | 620 | 515 | 525 | 550 | 16-23 | 16-30 | 20-36 |
| 450 | 978/1200 | 1070 | 610 | 615 | 640 | 670 | 565 | 585 | 600 | 20-25 | 20-30 | 20-36 |
| 500 | 1075/1250 | 1135 | 665 | 670 | 715 | 730 | 620 | 650 | 660 | 20-25 | 20-34 | - |
| 600 | 1100/1450 | 1270 | 725 | 780 | 840 | 845 | 725 | 770 | 770 | 23-30 | 20-41 | - |
| 700 | 1448 | 1460 | 865 | 895 | 910 | 960 | 840 | 840 | 875 | 24-30 | 24-41 | - |
| 800 | 1956 | 1640 | 975 | 1015 | 1025 | 1085 | 950 | 950 | 990 | 23-34 | 24-41 | - |
The 600X electric hydraulic control valve is composed of main valve, electromagnetic pilot valve, needlevalve, ball valve, micro fiter and pressure gauge to form hydrauic control takeover system. The rerote contro.of the valve opening and closing can be realized through the electromagnetic pilot valve. After installingadditional devices, the speed of opening and closing can be controlled. When the valve feeds water from theinlet, water flows through the needle valve into the main valve control room. When the solenoid pilot valve isopened, the water in the control chamber flows out through the sclenoid pilot valve and ball valve. The openingof the ball valve is greater than the opening of the needle valve, the pressure in the contral chamber of themain valve is very low, and the main valve is fully open. When the solenoid plot valve is closed, the water in thecontrol room of the main valve cannot flow out, and the control room is boosted. Push the diaphragm to cosethe main valve. This product uses pilot valves to control the apening and closing of valves to save energy. It canreplace other large-scale electric devices for valves and is widely used in water supply network systems such ashigh-rise buildings and living areas and urban water supply projects.
Product Inquiry
We will contact you within one working day. Please pay attention to your email.
Faq - Frequent questions
Introduction to Hydraulic control valve
Coliter®’s hydraulic control valves are pilot-operated, multi-function automatic valves designed for intelligent water system management in high-rise buildings, fire protection, and municipal networks. The series includes the 600X electric hydraulic control valve (remote on/off via solenoid), 500X pressure relief/pressure reducing valve, 400X flow control valve, 300X slow-closing check valve, 200X pressure sustaining valve, and the LHS743X low-resistance backflow preventer. All models use system pressure as the driving force—requiring no external power—and feature brass or ductile iron bodies, Y-strainer integration, and precise pilot control for stable operation. Rated at PN16 (1.6 MPa) and suitable for temperatures up to 80°C, they ensure safe, energy-efficient, and code-compliant water distribution with automatic response to demand changes.
