Coliter ® Rising Stem Hard Seal Gate Valve – PN16, -10~80°C, Metal-to-Metal Sealing for Water, Steam & Oil
Z41T Rising Stem Hard Seal Gate Valve – Industrial Gate Valve with Visual Stem Indication and Durable Metal Sealing
The Coliter® Z41T Rising Stem Hard Seal Gate Valve is a high-reliability industrial gate valve engineered for on/off control in demanding fluid systems involving water, steam, oil, and other non-corrosive media. Its rising stem design provides clear visual indication of the valve’s open or closed position—making it ideal for above-ground installations in power plants, refineries, district heating networks, and industrial pipelines where operational visibility is essential. Unlike elastomer-sealed valves, the Z41T features a robust metal-to-metal hard sealing structure: a precision-machined wedge made of brass or ductile iron seals directly against a hardened seat integrated into the valve body, ensuring long-term performance in high-temperature, high-pressure, or abrasive conditions where soft seals would fail. The body and bonnet are constructed from nodular (ductile) cast iron (QT450), while the stem is available in carbon steel, stainless steel, or brass to suit different environmental demands. Rated at PN16 (1.6 MPa) with shell and seal test pressures of 2.4 MPa and 1.76 MPa respectively, it operates reliably within a temperature range of -10°C to 80°C. Compliant with GB/T 12234 standards, the Z41T offers full-port flow for minimal pressure drop and uses standard flanged end connections. Available in sizes from DN50 to DN1200, it delivers fire-safe, maintenance-free, and erosion-resistant shut-off performance in critical industrial applications.
Installation diagram
Product Description
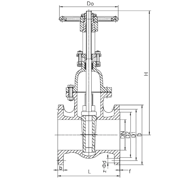
| DN | L | D | D1 | D2 | b-f | Z-Φd | H | Do |
| 50 | 178 | 160 | 125 | 100 | 20-30 | 4-18 | 295 | 180 |
| 65 | 190 | 180 | 145 | 120 | 20-3 | 4-18 | 330 | 180 |
| 80 | 203 | 195 | 160 | 135 | 22-3 | 4-18 | 382 | 200 |
| 100 | 229 | 215 | 180 | 155 | 22-3 | 8-18 | 437 | 200 |
| 125 | 254 | 245 | 210 | 185 | 24-3 | 8-18 | 508 | 240 |
| 150 | 280 | 280 | 240 | 210 | 24-3 | 8-23 | 580 | 240 |
| 200 | 330 | 335 | 295 | 265 | 26-3 | 8-23 | 760 | 320 |
| 250 | 380 | 390 | 350 | 320 | 28-3 | 12-23 | 875 | 320 |
| 300 | 420 | 440 | 400 | 368 | 28-4 | 12-23 | 1040 | 400 |
| 350 | 450 | 500 | 460 | 428 | 30-4 | 16-23 | 1195 | 400 |
| 400 | 480 | 565 | 515 | 482 | 32-4 | 16-25 | 1367 | 500 |
| 450 | 510 | 615 | 565 | 532 | 32-4 | 20-25 | 1498 | 500 |
| 500 | 540 | 670 | 620 | 585 | 34-4 | 20-25 | 1710 | 500 |
| 600 | 600 | 780 | 725 | 685 | 36-5 | 20-30 | 2129 | 500 |
Product overview
This valve is suitable for industries such as petroleum, chemical, pharmaceutical, and electric power, and is used for opening and closing pipelines in water and oil media.
Main performance specification
| Nominal pressure | Test pressure | Temperature | Applicable medium | |
| Strength(water) | Sealing(water) | |||
| 1.6 | 2.4MPa | 1.76MPa | -10~80℃ | Water, steam, oil |
Materials of main parts
| Part name | Material |
| Valve body, valve cover | Nodular cast iron |
| Ram | Ductile iron, brass |
| Valve stem | Carbon steel, stainless steel, brass |
| Sealing washer | Brass, ductile iron |
Product Inquiry
We will contact you within one working day. Please pay attention to your email.
Faq - Frequent questions
Introduction to Hard seal gate valve
Coliter®’s hard sealing gate valves are engineered for demanding applications in steam, oil, gas, and high-temperature water systems where metal-to-metal sealing ensures long-term reliability. The series includes the Z41T rising stem gate valve and Z45T non-rising (dark rod) gate valve, featuring a precision-machined bronze or stainless steel wedge that seals directly against a hardened seat—eliminating elastomer degradation risks. Rated at PN16 (1.6 MPa) and suitable for temperatures up to 200°C (depending on material), these valves comply with GB/T 12234 and offer full-port flow with robust cast iron or ductile iron bodies. Ideal for power plants, district heating, industrial pipelines, and fire protection systems requiring maintenance-free, fire-safe shut-off performance.
Premium Gate Valves Manufacturer – Soft Seal, Hard Seal, Brass & Flanged Models | Zhejiang Haoji Fluid
As a leading gate valve manufacturer based in Yuhuan—China’s “Valve Capital”—Zhejiang Haoji Fluid Technology Co., Ltd. delivers high-performance fluid control solutions for global water, gas, HVAC, and industrial systems.
Our comprehensive gate valve portfolio includes:
- Soft Sealing Gate Valve: Features EPDM or NBR elastomer seats for bubble-tight shut-off in clean water applications. Ideal for residential and municipal use.
- Hard Seal Gate Valve: Metal-to-metal sealing design for high-temperature, high-pressure, or abrasive media such as steam, oil, and slurry.
- Rising Stem Soft Sealing Gate Valve: Visual stem indication for easy operation status monitoring; excellent for above-ground installations.
- Rising Stem Hard Seal Gate Valve: Combines durability with precise control in demanding industrial environments.
- Non-Rising Stem Soft Sealing Gate Valve: Compact design saves space—perfect for underground vaults or confined areas.
- Non-Rising Stem Hard Seal Gate Valve: Robust performance where stem exposure is undesirable.
- Brass Gate Valve: Made from high-purity HPb59-1 or CW617N brass; corrosion-resistant and lead-free compliant for potable water systems.
- Flanged Gate Valve: Designed with ANSI, DIN, or JIS flange standards for easy integration into pipeline networks.
- Cast Steel Gate Valve: Suitable for high-pressure applications up to PN40/Class 300, commonly used in power plants and refineries.
All products are manufactured in our 30,000+ sqm facility with over 300 employees, including 30+ R&D engineers. We utilize advanced equipment from Germany, Italy, and Taiwan, and operate an international-standard testing laboratory for 100% pressure and leakage validation.
Our gate valves are certified under ISO 9001:2015, ISO 14001:2015, CE, France ACS (drinking water safety), Germany DAkkS, CQC, BSCI, and hold official Health License for Imported Water-Contact Products. Every product is insured by China Ping An Insurance for quality assurance.
Guided by our mission—“Let innovative technology and high-end quality serve every family!”—Zhejiang Haoji Fluid combines decades of copper valve expertise with modern engineering to create long-term value for customers worldwide.
Contact us today for catalog, certification documents, or sample requests. OEM/ODM supported.